Le programmateur ICC2 de base est fourni avec un module de sortie de stations de type ICM-800. La capacité du programmateur augmente lorsque de nouveaux modules de stations sont installés et reconnus.
Notre gamme de modules de stations de type ICM comprend des modèles pour 4, 8 et 22 stations (ICM-400, ICM-800 et ICM-2200). Ils peuvent tous être ajoutés à votre dispositif à tout moment après son installation initiale.
Note : pour être compatible avec votre dispositif, le modèle ICM-2200 (module pour 22 stations) doit dans tous les cas être installé dans l’un des deux derniers créneaux prévus pour un module.
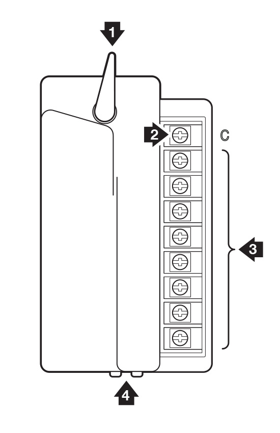
Ouvrez le panneau interne du programmateur, puis choisissez le premier créneau vacant selon les indications du programmateur. Les créneaux sont numérotés, de haut en bas dans la première colonne et de bas en haut dans la deuxième.
Mettez le levier de verrouillage bleu en position verticale de déverrouillage.
Introduisez les deux pattes situées sur le côté inférieur du module avec les trous de montage situés dans l'emplacement et faites basculer fermement le module pour l'installer.
Remettez le levier de verrouillage en position horizontale de verrouillage.
Appuyez sur le bouton de réinitialisation situé à l'arrière de la console de contrôle du programmateur. Cette action est indispensable pour que le programmateur reconnaisse le nouveau module.
Raccordez les câbles de terrain et les câbles communs nécessaires, puis vérifiez le bon fonctionnement de votre installation.
Vous avez toujours besoin d'aide ? Nous sommes à votre disposition.
Dites-nous de quoi vous avez besoin et nous trouverons la solution qui vous convient le mieux.
