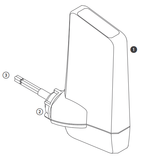
Receiver
- Receiver
- Receiver retaining nut
- Wiring harness: white and blue wires to sensor terminals; yellow wires to 24 VAC terminals

- Transmitter
- Transmitter retainer nut
- White and blue wires (to sensor)
- Battery pack (3 AA)
- O-rings
- Battery compartment cover
- Battery compartment cap

Still need help? We're here.
Tell us what you need support with and we'll find the best solution for you.