Pump Starts

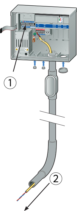
1. P/MV terminals

2. P/MV decoders

P/MV outputs may connect to the controller, or designated decoders in the two-wire path.

Part of the tremendous flexibility of ACC Decoder systems is the ability to designate decoders on the two-wire path as Pump/Master Valve outputs. This allows the ACC Decoder controller to operate dedicated Pump/Master Valve outputs thousands of feet or meters away from the controller, without running extra wire.

ACC Controllers (of all types) have up to 2 programmable Pump/Master Valve outputs, programmable by station.

In ACC Decoder systems, one or both Pump/Master Valves can be operated via the two-wire path. The ACC decoder controllers can use the P/MV terminals in the controller on the Master Module with their own wire, or operate dedicated Pump decoders on the decoder path. It is possible to have one of each. The maximum number of P/MV outputs is still 2, but the designer or installer may choose how to reach them. The individual Pump/Master valve output locations are selected (Controller or Decoder) at the decoder controller facepack.

Use a single-station ICD-100 for Pump/Master Valve purposes. When a decoder is assigned to be a Pump decoder, it is completely dedicated to that purpose and will lose the ability to operate any other stations. Make sure the relay is rated for the purpose, and that the decoder is completely isolated from the high voltage side of the switch!

The DUAL Difference

DUAL decoders cannot be assigned to Pump or Master Valve outputs. Use the PMV terminal in the I-Core controller for PMV activation.

Still need help? We're here.

Tell us what you need support with and we'll find the best solution for you.

Contact Support