Cada año, antes de la primera helada, el ritual del "apagado" del riego se convierte en la prioridad de todos los sistemas de riego que se encuentren en regiones del país donde el nivel de congelación llegué más allá de la profundidad en la que están instaladas las tuberías.
Debido a los daños potenciales relacionados con el acondicionamiento para el invierno, lo mejor es llamar a un profesional.

Incluso si ha drenado una parte del agua fuera del sistema, el agua restante puede congelarse, dilatarse y romper la tubería de PVC (tubería blanca y rígida), habitualmente entre empalme y empalme. En muchos climas helados se utilizan tuberías de polietileno (tubería negra y flexible). Aunque la tubería de polietileno es más flexible y puede expandirse bajo presión, el agua que permanezca dentro puede congelarse y romper las paredes de la tubería. El agua congelada en el ensamblaje antirretorno dañará los componentes internos y es posible que rompa el cuerpo de latón.
Para minimizar el riesgo de daño por congelación de su sistema de riego, será necesario "acondicionarlo para el invierno". Los sistemas de riego en zonas donde el "acondicionamiento para el riego" es obligatorio están instalados teniendo en cuenta uno de los tres métodos de extracción del agua: drenaje manual, automático o por expulsión. Si no sabe cuál es su tipo de sistema, lo mejor es usar el método de expulsión.
Método de drenaje manual
Utilícelo cuando las válvulas manuales están situadas en los puntos extremos e inferiores de las tuberías de riego. Para drenar estos sistemas, simplemente cierre el suministro de agua para riego (el cierre estará situado en el sótano y será una válvula de compuerta/esférica, válvula de bola o bien válvula de parada y descarga - ver dibujos más abajo) y abra todas las válvulas de drenaje manuales. Una vez que el agua se ha drenado de la tubería principal, abra la válvula de drenaje de la caldera o el tapón de drenaje en la válvula de parada y descarga (lo que se utilice en su zona) y drene todo el agua restante entre la válvula de cierre del agua de riego y el dispositivo antirretorno. Abra los grifos de prueba del dispositivo antirretorno. Si sus aspersores tienen válvulas de retención tendrá que tirar de los aspersores para permitir que el agua drene desde la parte inferior del cuerpo aspersor. Dependiendo de donde estén las válvulas de drenaje, es posible que quede agua en el antirretorno, las tuberías y los aspersores. Cuando se haya drenado todo el agua, cierre todas las válvulas de drenaje manuales.
Método de drenaje automático
Utilícelo cuando las válvulas de drenaje automático estén situadas en los puntos extremos e inferiores de las tuberías de riego. Estas se abrirán automáticamente y drenarán agua si la presión en las tuberías es inferior a 0,7 bares. Para activarlas, cierre el suministro de agua de riego (el cierre estará situado en el sotano y será una válvula de compuerta/esférica, una válvula de bola o bien una válvula de parada y descarga - ver dibujos más abajo) y active una estación para aliviar la presión del sistema. Una vez que el agua se ha drenado fuera de la tubería principal, abra la válvula de drenaje de la caldera o el tapón de drenaje que hay sobre la válvula de parada y descarga (lo que se utilice en su zona) y drene todo el agua restante que haya entre la válvula de cierre del agua de riego y el dispositivo antirretorno. Abra los grifos de prueba del dispositivo antirretorno. Si sus aspersores tienen válvulas de retención tendrá que tirar de los aspersores para permitir que el agua drene desde la parte inferior del cuerpo aspersor. Dependiendo de donde estén las válvulas de drenaje, es posible que quede agua en el antirretorno, las tuberías y los aspersores.
En algunas zonas puede haber una combinación de sistema de drenaje manual en la tubería principal (la tubería entre la válvula de cierre de agua de riego y las válvulas) y sistema de drenaje automático en las tuberías laterales (la tubería entre las válvulas y los aspersores).
Método de "expulsión"

Expulsión en un aspersor

Expulsión en una turbina
¡ATENCIÓN! Debe utilizar protección de seguridad acreditada para los ojos. Debe tenerse extremo cuidado en todo momento al realizar la expulsión del sistema con aire comprimido. El aire comprimido puede causar daños graves, incluyendo daños graves en los ojos, causados por residuos proyectados. Utilice siempre protección de seguridad acreditada para los ojos y no permanezca cerca de ningún componente de riego (tuberías, aspersores y válvulas) durante la expulsión de aire. Si no sigue estas recomendaciones, podría sufrir graves lesiones personales Se recomienda que un contratista profesional cualificado lleve a cabo este tipo de "acondicionamiento para el invierno". El método de expulsión utiliza un compresor de aire con una velocidad en pies cúbicos por minuto (CFM) entre 80-100 para cualquier tubería principal de 5 cm o menos. Estos tipos de compresores pueden alquilarse en su servicio local de alquiler de equipos. El compresor está unido a la tubería principal por medio de un acoplador rápido, grifo de manguera u otro tipo de conexión, que está localizado detrás del dispositivo antirretorno. No se debe expulsar aire comprimido a través de ningún dispositivo antirretorno. Para iniciar la "expulsión", cierre el suministro de agua de riego y, con la válvula del compresor en posición de cerrado, una el tubo del compresor de aire al empalme. Active la estación en el programador que esté en la zona o en los aspersores más elevados y más alejados del compresor. Cierre las válvulas de aislamiento del antirretorno. Abra despacio la válvula del compresor; esto debería introducir aire gradualmente en el sistema de riego. La presión de expulsión debe permanecer por debajo de la especificación de presión operativa máxima del componente de la zona capaz de soportar menos presión y EN NINGÚN CASO debe superar los 5,5 bares.
Cada estación/zona debe ser activada empezando desde la estación/zona más alejada del compresor, y aproximándose lentamente a la estación/zona más cercana al compresor. Cada estación/zona debe permanecer activada hasta que no se vea salir agua de las cabezas de los aspersores; esto debería llevar aproximadamente dos minutos o más por estación/zona. Es mejor usar dos o tres ciclos cortos por estación/zona que un único ciclo largo. Una vez la estación/zona está sin agua, no debe continuar expulsando aire a través de la tubería. El aire comprimido moviéndose por tuberías sin agua puede causar fricciones, que generarán calor y el calor a su vez podría ocasionar desperfectos.
Pasos adicionales
Una vez que se ha extraído el agua del sistema de riego, desconecte el compresor de aire y suelte toda la presión de aire que pueda quedar. Si su dispositivo antirretorno (el más comúnmente instalado se llama Pressure Vacuum Breaker) tiene válvulas de bola, abra y cierre las válvulas de aislamiento del dispositivo antirretorno varias veces para asegurarse de que salga todo el agua atrapada de las zonas superiores. Deje las válvulas de aislamiento abiertas en un ángulo de 45° (aproximadamente medio abiertas) y abra los grifos de prueba.
-
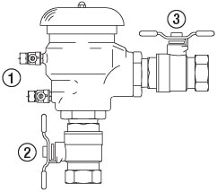
Pressure Vacuum Breaker (interruptor de vacío por presión)

- Grifos de prueba de PVB
- Entrada de válvula de bola de aislamiento/li>
- Salida de válvula de bola de aislamiento
-
Punto inferior de conexión para climas helados

- Válvula de caldera
- Válvula de cierre del riego
- Válvula de cierre de suministro principal de agua
- Contador de agua
Tipos de válvulas
-

Válvula de compuerta
-

Válvula de bola
-

Válvula de parada y descarga
-

Válvula de caldera
¿Preparando un sistema de control hidráulico?
Cierre el suministro de agua hasta el o los tubos de control de señal y drene los tubos de la instalación.
¿Programadores montados en el exterior?
Puede dejarlos encendidos y dejar el dial/interruptor en la posición "Parado". El calor del transformador mantendrá la caja lo suficientemente caliente como para evitar la condensación dentro de la caja del programador. El dial en "Parado" evitará que el programador active los solenoides de la instalación.
¿Programadores montados en el interior?
Puede dejarlos encendidos y con el dial/interruptor en posición "Parado" O puede sacar la pila de seguridad y desenchufar el transformador.
¿Sensores de lluvia?
No hay mucho que hacer para preparar el sensor de lluvia para los meses de invierno. Si el sensor es de los que poseen un vaso o cuenco para captar el agua, puede extraer el agua y colocar una bolsa de plástico sobre el sensor. Esto evitará que se acumule agua y se congele en la zona del vaso o cuenco. Si utiliza obleas o discos, es posible extraer las obleas y guardarlas en el garaje durante los meses de invierno. Esto evitará que las obleas húmedas se congelen.
Lo que NO hay que hacer en el acondicionamiento para el invierno de tipo "EXPULSIÓN"
¡ATENCIÓN! DEBE UTILIZAR PROTECCIÓN DE SEGURIDAD PARA LOS OJOS. Debe tenerse extremo cuidado en todo momento al realizar la expulsión del sistema con aire comprimido. El aire comprimido puede causar daños graves, incluyendo daños graves en los ojos, causados por residuos proyectados. Utilice siempre protección de seguridad acreditada para los ojos y no permanezca cerca de ningún componente de riego (tuberías, aspersores y válvulas) durante la expulsión de aire. SI NO SIGUE ESTAS RECOMENDACIONES, PODRÍA SUFRIR GRAVES LESIONES PERSONALES.
- No permita que la presión de aire exceda los 5,5 bares para los sistemas con tuberías de PVC y los 3,4 bares para los sistemas con tuberías de polietileno.
- No permanezca sobre piezas de componentes mientras el sistema esté presurizado con aire.
- No deje el compresor de aire sin vigilancia.
- No vacíe el sistema a través de una válvula antirretorno o bomba. Primero vacíe el sistema, luego drene la válvula antirretorno o la bomba.
- No deje las válvulas de drenaje manual abiertas tras la expulsión.